323,037

PATENT SPECIFICATION

Application Date: Sept. 9, 1928. No. 26,343/28

Complete Accepted: Dec. 13, 1929.

Electric measurements.

Standard Telephones & Cables Ltd., and Blumlein A. D., Columbia House, Aldwych, London.

Sept. 13, 1928, No.26343 [Classes 37 and 40 (iv).]

-------------------------

PROVISIONAL SPECIFICATION

Alternating Current Bridge Circuits

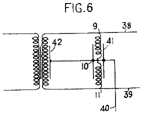
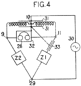
The ratio arms of an alternating current Wheatstone bridge consist of two inductive windings which are bifilarly wound on the same core and are surrounded by a shield which is connected to the common middle point of the ratio arms. As shown in Fig.1, the windings 1, 2 and 5, 6 are formed of a twisted pair of conductors and are wound by starting at the ends 2, 6, so that the ends 1, 5 appear at the outside. The windings 3, 4 and 7, 8 are similarly wound but in the reverse winding direction. The coils are connected as shown in terminals 9, 10, 11 and are inserted in a Wheatstone bridge to form the ratio arms as shown in Fig. 4. For currents entering at point 10, the windings oppose inductivity, giving a small impedance, while for currents passing through the coils from the end 9 to the end 11 the windings aid inductivity and present a very high impedance. A coil for 4 to 1 ratio arms is wound from a four-conductor strand, one arm comprising four windings in series and the other comprising two pairs of conductors in parallel. Similarly other ratios may be obtained. The bridge, Fig.4, is arranged for the comparison of impedances Z1, Z2, balance being indicated by telephones 28. The ration arms are shielded by an electrostatic screen 31 connected to the mid-point 10. A similar shield 32 may be provided for the telephones 28, and if the impedance Z! to be measured is at a distance from the bridge, the lead from terminal 11 may be provided with a shield 33, also connected to the mid-point 10. Fig. 5 shows the bridge arranged for measuring the capacity between two conductors 34, 35 in the presence of a third conductor 36, which is connected to the mid-point 10 so that the capacity between the conductors 35, 36 is bridged across the generator 30, and that between the conductors 34, 36 is bridged between the substantially equi-potential points 10, 11. As shown in Fig. 6, the coil windings 9, 10, and 10, 11 form ratio arms bridged across the conductors 38, 39 of a side circuit in a telephone phantom group. The shield 41 of the ratio arms and the shield of 42 of the side circuit repeating coil are connected to the mid-point 10 from which a conductor 40 gives access to this half of the phantom circuit.